Carta Alir Tatacara Rekod Surat

5.2 harga aset alih adalah berdasarkan dokumen perjanjian. Email dari pic terdiri dari pegawai tetap/senior sahaja. Carta alir pelupusan rekod berdasarkan jpr •jpr urusan am •jpr kewangan & perakaunan •jpr urusan fungsian kenalpasti siri rekod berdasarkan. Menjelaskan tentang tatacara pemindahan rekod awam ke anm.

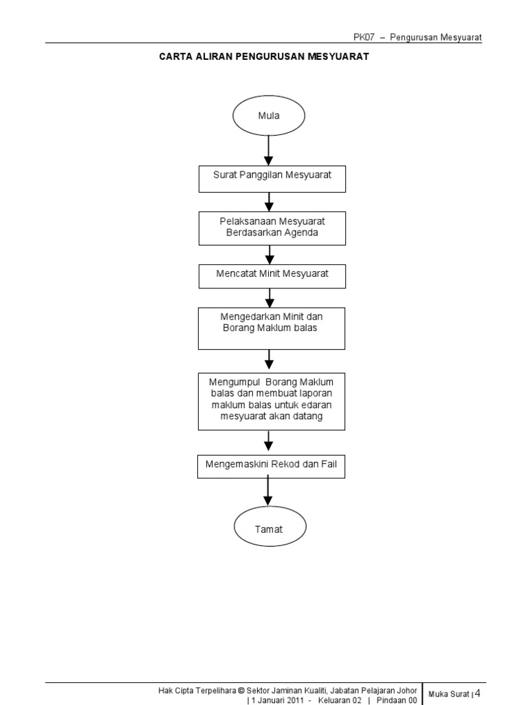
Carta Alir Rekod Surat
Carta Alir Rekod Surat

(b) surat kelulusan menerima hadiah mengikut peraturan yang sedang berkuatkuasa berserta maklumat lengkap aset. 5.2 harga aset alih adalah berdasarkan dokumen perjanjian. 1 daripada 3 1.0 carta alir kawalan rekod pelupusan fail/rekod pastikan ruangan penyimpanan bersih kenalpasti dan merekod rekod/fail untuk disimpan fail disusun dan kemas rekodkan pergerakan fail/rekod simpan fail kemaskini maklumat fail/rekod yang ditutup Senarai borang yang berkaitan dengan tugas. Dasar pengurusan rekod dan arkib elektronik 3.1.1. Carta alir semakan awal label bagi pendaftaran semula jom tengok.

Carta Alir Tatacara Rekod Surat. Anda mungkin perlu mempelajari teknik yang berbeza untuk menulis surat dalam ini era digital di mana mesej teks dan e-mel telah menggantikan surat perniagaan rasmi. Ia semata-mata bergantung pada jenis surat bahawa kandungan yang ada untuk diletakkan atau diberi penekanan dalam perenggan utama surat itu.

Anda boleh memilih daripada pelbagai jenis surat untuk majlis yang berbeza.

Surat pelantikan, permohonan kerja, surat pengesahan kerja dan surat pemberhentian semuanya penting dalam hal pekerjaan. Surat maaf, surat perpisahan, surat maaf, surat terima kasih, surat perpisahan dan surat simpati semuanya adalah cara rasmi untuk mengatakan perkara tidak rasmi.

Walaupun mereka tidak formal, adalah sangat penting untuk menulis mesej yang ingin anda sampaikan dengan cara yang jelas dan profesional. Pakar mungkin boleh membantu anda dalam hal ini. Tidak mengapa jika anda tidak mendapatnya dengan segera. Anda akan mempelajari asas-asas semasa anda menulis lebih banyak surat.

Keperluan am semasa menulis surat dalam kes perubatan, pengesyoran, pengesahan, surat rasmi, perniagaan dan tidak rasmi adalah begitu banyak yang perlu anda fahami. Berikut adalah beberapa petua dan petua untuk menulis apa-apa jenis surat.

Pertama, masukkan nama dan alamat anda, jika diperlukan di bahagian atas halaman surat.

Kedua, menulis salam yang sesuai yang anda perlukan untuk memulakan surat dengan penekanan yang diperlukan pada subjek. Ini bermakna anda mesti menumpukan perhatian kepada perkara utama surat itu.

Anda juga perlu mempunyai kemahiran komunikasi yang sangat baik untuk menulis apa-apa jenis surat. Bukan niat anda untuk meremehkan kuasa ahli jawatankuasa atau orang yang diberi kuasa untuk membaca kemahiran menulis anda. Jadi, teruskan usaha yang cemerlang dan cuba menulis dalam beberapa gaya yang hebat supaya tujuan anda menulis surat tertentu sentiasa terlaksana.

Anda boleh menggunakan surat untuk sebarang tujuan. Daripada mengucapkan maaf kepada rakan atas kesilapan kecil yang anda lakukan atau pun kerana membeli rumah. Ini adalah surat pujukan kecil daripada seseorang yang bekerja untuk isu dunia.

Trending Now..

Popular Posts

Surat Pekeliling Perkhidmatan Bil 4 Tahun 1995

Surat Berhenti Kerja Kerana Sambung Belajar In English

Surat Amaran Berhenti Sekolah

Contoh Surat Rasmi Rayuan Permohonan Tanah

Cara Ngepost Surat Di Pejabat Pos

Air Asia Suspension Surat Thani

Contoh Surat Pemberitahuan Sekolah Islam

Contoh Surat Authorised Loan Settlement

Contoh Surat Rasmi Kepada Perdana Menteri Malaysia Tun Mahathir

Contoh Surat Tukar Hak Milik Kereta